HOME ABOUT CV PROJECTS EXTRACURRICULAR CONTACT
SCRIPTS-ARCHIVE

Scripts-Archive

Personal collection of custom scripts

Scripts-Archive
Scripts-Archive
programming

0

0

0
Updated: 2025-04-07 18:20
Created: 2017-12-24 06:24
Status:
Active
  • Shell
  • TeX
  • MATLAB
  • C++
  • CMake
  • GLSL
  • LabVIEW

Documentation

This repository is a public collection of scripts and programs I’ve developed to solve various problems and test different theories. The content is organized into folders based on either the parent software or the underlying programming language. The scripts cover a wide range of use cases, including automation, data processing, analysis, and more. You are welcome to reuse, modify, and distribute the code. If you have any questions, feel free to reach out.

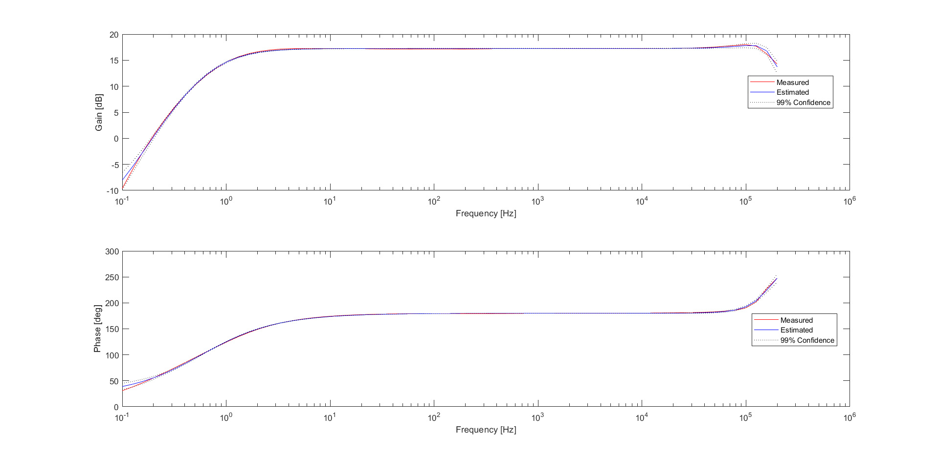
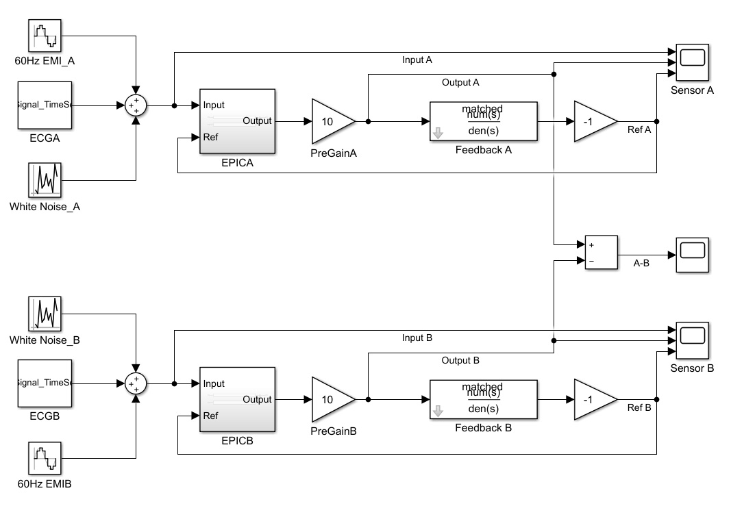
Density Map Viewer Density Map Viewer Gain Estimation Gain Estimation RF Material Calculator RF Material Calculator Sensor Model Tester Sensor Model Tester Signal Analysis Signal Analysis